Ушп технология строительства. Технология утепленной шведской плиты на примере фирмы Dorocell
- Ушп технология строительства. Технология утепленной шведской плиты на примере фирмы Dorocell
- Высота ушп. 9 плюсов и 3 минуса утепленной шведской плиты
- Подушка под ушп. Разновидности плитного фундамента, их характеристики
- Строительство фундамента ушп. Фундамент «плита шведская» — назначение и область применения
- Утепленная шведская плита своими руками. Что такое шведская плита
- Армирование ушп. УШП: развод на деньги или экономия средств?
- Видео как делается Утеплённая Шведская плита. Самый лучший видеоролик по технологии УШП.
Ушп технология строительства. Технология утепленной шведской плиты на примере фирмы Dorocell
Около 10 лет назад первые отечественные энтузиасты — застройщики пользовались типовыми проектами именно этой компании. По определению Dorocell, оптимальным энергоэффективным фундаментом для малоэтажного домостроения является высококачественная монолитная бетонная плита с ребрами жесткости, внешней термоизоляцией и встроенным подогревом.

Схема технологии устройства утеплённой шведской плиты УШП с использованием материалов Технониколь
Термоизоляция, представляя из себя своеобразное «корыто» для заливки бетона, служит естественной несъемной опалубкой.
Принципиальная схема УШП в разрезе
Приведем детальный обзор фундамента утепленной шведской плиты:
- Опалубка из полистирола ПСБ-С собирается на утрамбованной песчано-щебневой подсыпке. На дне постели засыпки выполнены уклоны и установлена дренажная труба.
- Опалубка высотой 400 мм состоит из плит толщиной 100 мм и образует по периметру прямоугольные пазы сечением 400×200 для образования ребер жесткости и постель для заливки основной плиты толщиной 100 мм.
- Армирование ребер выполняется в двух поясах профилем переменного сечения диаметром 8 — 12 мм. Армирование плиты пола осуществляется с помощью сварной сетки 150×150 мм.
- В плиту пола замуровываются трубопроводы системы отопления. Армирование плиты пола осуществляется с помощью сварной сетки 150×150 мм, укладываемой поверх труб теплого пола.
- Кроме теплого пола бетоном заливаются и другие коммуникации — водопровод, канализация, электрическая разводка по комнатам.
- Утепление отмостки осуществляется по периметру фундамента 70-миллиметровыми плитами ПСБ-С, примыкающими снаружи к полистирольной опалубке на глубине ее контакта с подсыпкой.

Юбка теплоизоляции вокруг фундаментной плиты предохраняет от промерзания
Описанная схема соответствует нагрузке, образуемой двухэтажным домом с несущими стенами из ячеистого бетона, а также климатическим условиям с индексом мороза 4000 — 8000. Увеличение нагрузки требует увеличения сечения ребер жесткости, а более суровый температурный режим — добавления одного или двух дополнительных слоев утеплителя.
Высота ушп. 9 плюсов и 3 минуса утепленной шведской плиты
Строительство дома начинается …. Правильно. С утепленной шведской плиты.
Технология создания этого комплексного решения проста, но требует вдумчивого подхода и не прощает ошибок. Результат превосходный, затраты меньше, срок эксплуатации огромный. Разберёмся, что нового предложили инженеры из северной страны для создания фундамента.

Основа конструкции
УШП или утепленная шведская плита представляет собой монолитную армированную бетонную плиту мелкого заложения, в которой расположены инженерные коммуникации и система обогрева пола первого этажа. Ее функциональность и надежность обеспечивается целым рядом подготовительных мероприятий, технических решений, новаторских идей.
Сфера применения
Строительство зданий на основе из УШП широко распространенно в Эстонии.
Наибольшую популярность УШП может получить:
- на территориях с суровым климатом (за исключением районов вечной мерзлоты);
- в местах близкого расположения к поверхности грунтовых вод;
- при малоэтажном каркасном, щитовом, панельном, блочном, кирпичном строительстве;
- на слабых грунтах.

Достоинства плиты
Строительство здания на основе УШП имеет следующие преимущества:
- Инженерные сети жизнеобеспечения прокладываются либо в самой плите, либо под ней. В результате отпадает необходимость устройства цокольного или подвального этажа для размещения коммуникаций, проведения работ по утеплению и защите трубопроводов и кабелей, что сокращает расходы на строительство.
- Один из слоев фундамента – теплоизоляция. Ее наличие предупреждает наступление сезонной цикличности эксплуатации (заморозка – оттаивание).
- Широкое использование гидроизоляционных материалов защищает ограждающие конструкции от проникновения влаги, что увеличивает их срок эксплуатации и теплоудерживающую способность.
- Применение гидроизоляционных материалов, дренажа, песчано-гравийной «подушки» полностью исключают разрушающее воздействие влаги на фундамент.
- За счёт утепления по шведской технологии и обустройства водяной системы «теплый пол» существенно снижаются эксплуатационные расходы на отопление.
- Монолитность конструкции, надежное армирование, запроектированные ребра жесткости обеспечивают большую несущую способность, не создают ограничений по технологии строительства здания, применению различных строительных материалов для возведения стен, перекрытий, кровли.
- Выравнивание бетонного основания с последующей шлифовкой делает возможным не проводить обустройство чистовой отделки пола 1-го этажа перед укладкой отделочных материалов, что экономит деньги и время.
- Необходимые для создания УШП материалы поставляются на место строительства малыми партиями, их использование не требует задействование подъемных кранов и большегрузных автомобилей;
- Прокладка инженерных сетей и устройство основания проводится в рамках одной технологической операции, что сокращает время строительства.
Подушка под ушп. Разновидности плитного фундамента, их характеристики
В настоящее время известно три типа плитного фундамента, каждый из которых имеет свои отличительные особенности. Традиционным считается русский вариант, который был спроектирован отечественными конструкторами. Изделие представляет собой толстую монолитную железобетонную плиту с массивными ребрами. Фундамент характеризуется большим прочностным запасом, отсутствием деформаций, благодаря чему может быть использован при экстремальных условиях эксплуатации.

Технология изготвления финской плиты пошагово
К недостаткам конструкции можно отнести недостаточное утепление и необходимость заливать бетон два раза: первый – для создания ребер жесткости, второй – для формирования непосредственно плиты. Однако это увеличивает период эксплуатации.
Фундамент в виде утепленной финской плиты родом из Финляндии. Конструкция имеет меньшую толщину, но характеризуется достаточной прочностью. Она хорошо утеплена и адаптирована под систему теплого пола. Такой фундамент является холодным контуром. Теплоизоляция толщиной не менее 150 мм монтируется на плиту, отрезая холодный контур фундамента от теплого пола первого этажа здания, который устанавливается в дополнительной армированной стяжке.
Менее энергосберегающей, но более экономичной по сравнению с финским вариантом является утепленная шведская плита. УШП не нуждается в дополнительной стяжке, поскольку система теплого пола монтируется непосредственно в плиту, толщина которой достигает минимальных размеров.
Строительство фундамента ушп. Фундамент «плита шведская» — назначение и область применения
Задумываясь о конструкции фундаментной основы, большинство застройщиков выбирают между ленточной, плитной и свайной конструкциями. Однако современные строительные методы и инновационные технологии позволяют соорудить принципиально новый фундамент. Плита шведская представляет собой мелкозаглубленную основу плитного типа, изготовленную из бетона и усиленную арматурным каркасом.
Шведская фундаментная плита представляет многослойную конструкцию. Сооружение в виде своеобразного сэндвича позволяет ускорить строительный цикл и решить комплекс важных задач:
Утепленная шведская плита (УШП) – современная и сложная конструкция фундамента
- эффективно утеплить монолитную плиту фундаментной основы;
- расположить электрокабеля, водопроводные трубы и канализационные сети;
- предотвратить возможную деформацию основания;
- поддержать комфортную температуру в помещении за счет обогрева пола;
- создать надежную основу, предназначенную для укладки декоративного покрытия.
Фундаментная плита с интегрированной обогревательной системой применяется для постройки зданий на грунтах, содержащих увеличенную концентрацию песчаных частиц, торфа, глинистых включений.
Особенности конструкции и запас прочности монолитной плиты позволяют выполнять строительство зданий различного типа:
- бревенчатых построек;
- домов из бруса;
- каркасных строений;
- панельных домов;
- построек из кирпича и пористых бетонных блоков.
Применение легких строительных материалов позволяет возводить на теплой плите здания, предельная этажность которых составляет 3 этажа. Шведская плита сооружается после выполнения теплотехнических расчетов, а также проектных мероприятий, учитывающих нагрузку от массы строения и особенности почвы. Важно правильно подобрать стройматериалы, из которых возводятся стены, потолок и пол. Электроприборы совместно с внутренними коммуникациями размещаются в соответствии с проектной документацией.
Главная особенность этой технологии в том, что всё основание дома базируется на слое утеплителя (под плитой)
Теплый фундамент в виде плиты представляет собой сложную конструкцию, возведение которой связано с повышенным объемом расходов. Принимая решение построить утепленную шведскую плиту УШП с использованием современного утеплителя, следует тщательно оценить все факторы.
Многослойной конструкции отдают предпочтение в определенных случаях:
- при расположении объекта строительства на проблемных грунтах;
- при строительстве зданий высотой коробки до 10 м;
- при расположении вблизи нулевой отметки грунтовых вод.
Принятие решения об использовании утепленной шведской плиты в качестве фундаментной основы здания производится индивидуально после анализа всех факторов.
Утепленная шведская плита своими руками. Что такое шведская плита
Технология по изготовлению УШП используется сравнительно недавно. Начался процесс использования в Европе. Конструкция – утепленная монолитная плита, в которой проложены основные коммуникации и система водяных полов. Технология изготовления такого фундамента позволяет не беспокоиться о возникновении сил морозного пучения, которых так боятся любые типы фундаментов. Устройство фундамента:

Устройство утепленной шведской плиты
Строительство утепленной монолитной плиты (УШП) не имеет серьезных отличий в изготовлении от обычной. Фундамент такого типа обладает следующими преимуществами:
- Возможность монтажа в конструкции плиты теплого пола и других коммуникаций. Это существенно упрощает процесс строительства дома. Нет необходимости в обустройстве технического подполья, где обычно протягивают трубы водоснабжения и водоотведения. За счет этого сокращаются не только затраты на производство работ, но и их продолжительность.
- УШП позволяет уменьшить затраты на эксплуатацию дома . Помимо прокладки системы подогрева технология предусматривает монтаж утеплителя, который предотвращает снижение температуры в помещениях. Фундамент позволяет сохранить тепло внутри дома, не пустить его в землю.
- Стены защищены от сырости благодаря отсутствию условий для возникновения конденсата. За счет этого они не боятся плесени, грибка и гниения. Шведский плитный фундамент позволяет увеличить долговечность всего дома.
- Такая опорная часть подходит практически для всех видов строений с разными геологическими условиями участков. Благодаря тому, что фундамент не заглублен в землю, исключается влияние на него уровня грунтовых вод. Монолитная плита имеет высокую несущую способность, поэтому технология подойдет как для строительства легких каркасных и деревянных зданий своими руками, так и для массивных кирпичных домов.
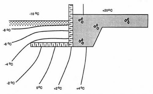
- Предотвращение морозного пучения. Это явление делает фундамент особенно уязвимым, поскольку приводит к неравномерной усадке основания. Пучение возникает при одновременном воздействии двух факторов влаги и отрицательных температур. Избавившись хотя бы от одного из них, можно не беспокоиться о сохранности конструкций. Монолитная утепленная шведская плита (УШП) – это фундамент, который предотвращает охлаждение почвы в зимний период непосредственно под пятном застройки. Это вызвано тем, что в полу расположена система водяного отопления, которая хоть и отделена от земли слоем утеплителя, все равно отдает ей какую-то часть тепла.
- Ровность поверхности плиты позволяет укладывать напольное покрытие первого этажа без дополнительных мероприятий. Это позволяет упростить отделочные работы, сократить стоимость и сроки строительства дома.
- Устройство фундамента не требует наличия большегрузной техники. Утепленная плита, как и другие монолитные варианты, позволяет выполнять работы без привлечения грузоподъемных кранов. Кроме того, незаглубленный вариант не предполагает серьезной разработки грунта: достаточно лишь снять плодородный слой почвы, глубина которого составляет 20-30 см (работу можно выполнить своими руками) и сделать трамбовку.
- Конструкция всегда имеет одинаковую температуру. У УШП нет циклов замораживания-оттаивания, которые приводят к ограничению срока эксплуатации элементов дома.
Армирование ушп. УШП: развод на деньги или экономия средств?

Один из трендов в малоэтажном домостроении последних лет – фундамент в виде утеплённой шведской плиты (УШП). Чем обусловлен высокий спрос на такой фундамент? Какие у него плюсы и минусы? Какие требования к его конструктиву и к материалам, которые используют для его создания?
Формально УШП – это разновидность утеплённой монолитной бетонной плиты, которая дополнена утеплённой отмосткой. Однако в отличие от обычных плитных фундаментов в УШП встроены основные инженерные системы:
■ Отопление – водяной тёплый пол
■ Водоснабжение
■ Канализация
■ Электроснабжение
Также в большинстве случаев при строительстве УШП предусматривают систему дренажа по периметру фундамента.

Каковы плюсы УШП?
Высокая скорость возведения конструкции за 2-3 недели. Срок выполнения работ зависит от площади и геометрии плиты: чем больше по размеру и сложнее по форме фундамент, тем дольше его будут сооружать. Играют роль и погодные условия: во время сильного дождя бетон лучше не заливать.
Возможность устройства почти на любых грунтах, в том числе с высоким уровнем грунтовых вод и пучинистых – глинах, суглинках. Благодаря утеплителю земля не промерзает, а значит, фундамент защищён от деформаций из-за морозного пучения грунта. Однако УШП нельзя делать на грунтах с очень низкой несущей способностью, например, торфяниках. В этом случае возможна осадка фундамента.
Не требуется глубокий котлован: экономия на земляных работах.
Готовность всех коммуникаций ещё на этапе устройства фундамента. Это существенно ускоряет строительство дома.